ַϺмζ^(q)(zhn)˹·1̖(ho)
Ԓ021-59561390
֙C(j)13916965877
]䣺ceerna@163.com(ߠ{)
ַϺмζ^(q)(zhn)˹·1̖(ho)
Ԓ021-59561390
֙C(j)13916965877
]䣺ceerna@163.com(ߠ{)
| Hl(f)(dng)C(j)ԇ(yn)_(ti) | |||||||||||||||||||||||||||||||||||||||||||||||||||||||||||||||||||||||||||||||||||||||||||||||||||||||||||||||||||||||||||||||||||||||||||||||||||||||||||||||||||||||||||||||||||||||||||||||||||||||||||||||
| Դl(f)2021/6/3 18:57:49 | |||||||||||||||||||||||||||||||||||||||||||||||||||||||||||||||||||||||||||||||||||||||||||||||||||||||||||||||||||||||||||||||||||||||||||||||||||||||||||||||||||||||||||||||||||||||||||||||||||||||||||||||
l(f)(dng)C(j)ԇ(yn)_(ti)g(sh)Ҏ(gu) һ O(sh)ã150-650KW
1y(c)ԇ(sh)D(zhun)ŤءC(j)͜ض,ˮض,Śض,C(j)͉(ji)T_ 2(sh)@ʾʽӋ(j)C(j)Ļ@ʾ 3(sh)O(sh)Ťֵ(sh)PIDԄ(dng) 4Ԅ(dng)ƷʽŤ 5ӡԇ(yn)(bo)
g(sh)֧ 1 Ñԇ(yn)ҽ^҂ṩȫļg(sh)֧ 2 ȫļg(sh)Ӗ(xn)(C(j)еӸ1)
y(c)ԇ(sh)//
5.1ϵy(tng)Ҫܣ 1߾ȑ(yng)׃ʽ(sh)F(xin)l(f)(dng)C(j)ݔŤصľܔ(sh)֜y(c) 2ʽy(c)ق(sh)F(xin)߾˲r(sh)D(zhun)ٜy(c) 3(sh){(dio)(ji)(sh)F(xin)l(f)(dng)C(j)cy(c)C(j)D(zhun)ؓ(f)ɵĸԄ(dng) 4ֱӔ(sh)ֿƣDDCʽ`׃Ŀ㷨ɝM㲻ͬͰl(f)(dng)C(j)y(c)Ҫ 5|ʽrO(sh)ʹpӯݿɿO(sh)ʹO(sh)Ժ;_ԵԼ 6 p׃ƿɌ(sh)F(xin)Ŀԡ 7 ͻжdԇ(yn) 8 ·ضȺһ·ɝM㳣Ҏ(gu)(sh)y(c)ҪʮַÑԼU(ku)չ·ضȺ·y(c) 9·(sh)@ʾøȣ.Ӣ电(sh)aܣֱ^ 10 б/Ӳ 11 ϵy(tng)U(ku)չ`BӷɿԸߡ 12 {(dio){(dio)O(sh)Ô(sh)ֻƴλ{(dio)(ji)ıʹ{(dio)(ji)O(sh)龫_ɿ
5.2ϵy(tng)ԭ ؓ(f)ضģM̖(ho)(jng)^{(dio)׃010V(bio)(zhn)ģM̖(ho)(jng)A/DD(zhun)Q׃Ӌ(j)C(j)Ĕ(sh) D(zhun)̖(ho)(jng)ηŴֱJSӋ(j)(sh)(jng)Ӌ(j)C(j)Ӌ(j)(sh)׃(yng)(sh) CPU(j)ɼĔ(sh)(j)CÑĽoB(ti)(jng)^һϵп㷨\(yn)㣬׃ֱƄ(dng)ˮTT(zh)}_̖(ho)(sh)F(xin)Ӌ(j)C(j)ֱӔ(sh)ֿƣDDC
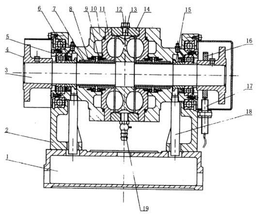
5.3y(c)C(j)Y(ji)(gu) y(c)C(j)C(j)wY(ji)(gu)ʾD
1 2S 3S 4(lin)S(ji) 5SЉ 6Ǽͷ 7S 8.9pS 10S⚤ 11҂(c) 12 13D(zhun) 14⚤ 15ˮȦ 16y(c)X݆ 17D(zhun)ق 18ˮ 19
5.4y(c)C(j)
5.5ȼӋ(j)
(j)ȼϷN_һͲʽچλr(sh)g(ni)60룩y(c)ĵȼϵ 5.6M(jn)Ӌ(j) һuʽᾀĤʽ(j)l(f)(dng)C(j)С_y(c)ԇ 5.7y(c)C(j)l(f)(dng)C(j)ˮϵy(tng) sˮϵy(tng)Ҫѭh(hun)ϵy(tng)õˮλˮsˮɢbԷ㌦(du)sˮM(jn)нءˮ߶5ˮгˮγwѭh(hun)M500ǧ߰l(f)(dng)C(j)ԇ(yn)Ҫ,Bm(x)ԇ(yn)r(sh)g^4Сr(sh) 5.8ŷřzy(c) wһ̼COδȼ̼?x)?/span>HCNOx̼CO2⣨O2 w̿wy(c)bʽy(c)ԇb 5.9Śb
ş·l(f)(dng)C(j)̎bã·bBM㮔(dng)?sh)حh(hun)Ҫðڟ |(zh)CԽK(yn)֮12(g)£ 횱CṩăxO(sh)ȫµδʹ^ģ |(zh)Cڃ(ni)ʹÛr£ڮa(chn)Ʒ(ni)ȱݶɵĹϾɹؓ(f)؟(z)
ۺ(w) ڽӵO(sh)ϵʽ֪ͨ1Сr(sh)֮(ni)푑(yng) F(xin)(chng)Q24Сr(sh)֮(ni)s跽F(xin)(chng)ԽQ ṩa(chn)Ʒ|(zh)ڃ(ni)F(xin)a(chn)Ʒ|(zh)}ҹ˾ؓ(f)؟(z)M(fi)QP(gun)㲿 ṩV(yu)ݵļg(sh)ּ֧(yng) ܛܽKM(fi)(j) LÑ˽O(sh)\(yn)Рrr(sh)cÑͨ
跽ؓ(f)؟(z) 1l(f)(dng)C(j)(dng) 2l(f)(dng)C(j)ȼϹo 3ʩ
xĜy(c)C(j)
| |||||||||||||||||||||||||||||||||||||||||||||||||||||||||||||||||||||||||||||||||||||||||||||||||||||||||||||||||||||||||||||||||||||||||||||||||||||||||||||||||||||||||||||||||||||||||||||||||||||||||||||||
| ˢ桿ӡġ P(gun)]ڡ | |||||||||||||||||||||||||||||||||||||||||||||||||||||||||||||||||||||||||||||||||||||||||||||||||||||||||||||||||||||||||||||||||||||||||||||||||||||||||||||||||||||||||||||||||||||||||||||||||||||||||||||||
| һƪISG 늙C(j)y(c)ԇϵy(tng)һƪo˙C(j)l(f)(dng)C(j)ԇ(yn)_(ti) | |||||||||||||||||||||||||||||||||||||||||||||||||||||||||||||||||||||||||||||||||||||||||||||||||||||||||||||||||||||||||||||||||||||||||||||||||||||||||||||||||||||||||||||||||||||||||||||||||||||||||||||||


Ԓԃ
Ԓ 021-59561390
֙C(j) 13916965877
